|
|
- Modelo / Tipo:
Southwick & Meister Inc
- Descripción:
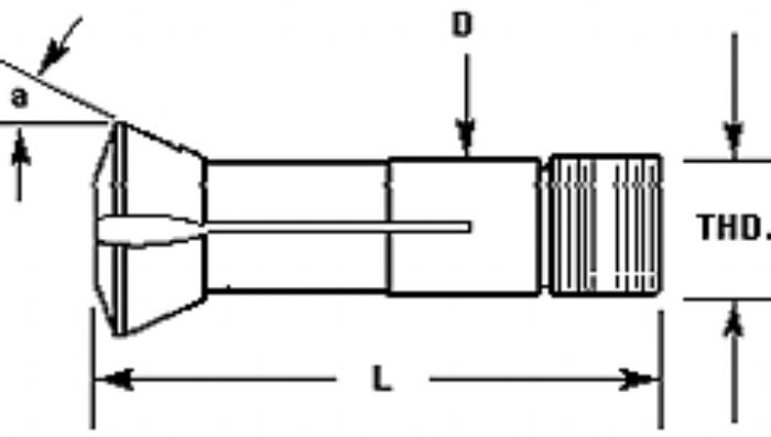
D L a° THD. MM P853D 14mm 61.5mm 15-1/2° 14 x 11/64 .551 2.421 P1053D 16mm 63mm 15-1/2° 14 x 1 1/16 .630 2.48
- Nombre de la Marca:
Southwick & Meister Inc
- País:
U.S.A
 |
|
Dí que lo viste en BOLETIN INDUSTRIAL |
| Teléfono: Tel. 001-203-237-0000 EEUU |
Dí que lo viste en BOLETIN INDUSTRIAL |
| Fax: Tel. 001-203-237-0000 EEUU |
|
|