Boletin Industrial
 

  Buscar:  
  Mi Cuenta
 
 

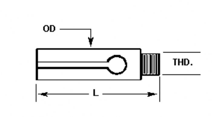
BOQUILLAS DE SUJECION Imagen

BOQUILLAS DE SUJECION - Southwick & Meister Inc


  • Modelo / Tipo: Southwick & Meister Inc
  • Descripción: OD L THD INC RANGE MM MM MM IN IN 8 40 6 x 1 RH/LH .001 .050 — .270 10 40 6 x 1 RH/LH .001 .078 — .350 12 40 6 x 1 RH/LH .001 .093 — .428 14 40 6 x 1 RH/LH .001 .100 — .507
  • Nombre de la Marca: Southwick & Meister Inc
  • País: U.S.A

Clic para ver telefono   Dí que lo viste en BOLETIN INDUSTRIAL
Usuario:
Contraseña:
¿Olvidó su contraseña?

¿Eres un Nuevo Usuario?













Acerca de Nosotros | Anunciate aqui | Contáctanos | Refiere a un Amigo | Ayuda | Mapa del Sitio | Trabaja con nosotros
Productos Nuevo | Eventos de la Industria Nuevo | English Information Nuevo | Aviso de Privacidad Nuevo
2026 © Repage, S.A. de C.V. Todos los Derechos Reservados.